
제품코드: WC17063

치수 예시 (가로·세로·깊이)
가로(W)를 입력하면 해당 규격 옵션이 자동 선택됩니다.
가로(W)
800~2000mm
세로(H)
424~700mm
깊이(D)
355~600mm
수량을 바꾸면 화면에 보이던 금액과 아래 재질별 표는 더 이상 맞지 않을 수 있습니다. 주문 개수만큼 부품을 한 번에 재단·배치하기 때문에, 바꾼 수량 기준으로 다시 확인하시려면 반드시 「가격 확인」을 눌러 주세요. 싱크대 뒷턱(사용 여부·가로·세로·깊이)이나 원목 맞춤 도마 설정을 바꾸어도 금액은 자동으로 바뀌지 않으니, 이 경우에도 「가격 확인」으로 다시 계산해 주세요.
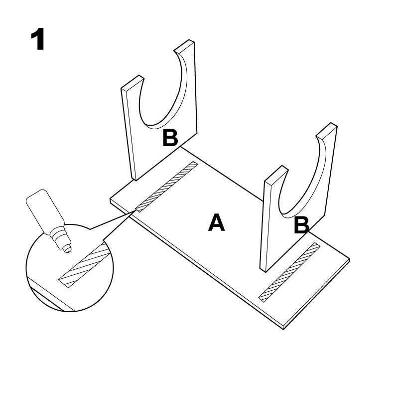
조립도를 참고하여 DIY로 조립하는 제품입니다 / 조립1시간이상소요 / 목공본드조립방식제품입니다
수량 열은 제품 1개를 만들 때 필요한 부품 장수 × 위에서 입력한 주문 개수입니다. 주문 개수를 바꾼 뒤에는 금액과 목재 재단(오토컷) 안내를 다시 받으려면 상단의 「가격 확인」을 눌러 주세요.
| ABC | 가로 | 세로 | 두께 | 수량 | 목재 |
|---|---|---|---|---|---|
| A | 355 | 800 | 24 | 1 | 2 |
| B | 305 | 415 | 24 | 2 | 2 |
| C | 64 | 652 | 24 | 1 | - |
철천지에서 구매하신 회원님의 주문가구 작품입니다.
























주문가구 제작 시 참고할 DIY 기술지원입니다. 본품에 연결된 글 다음으로, 포함 철물(나사·경첩·레일 등) 사용법에 연결된 글을 우선합니다.